High Frequency Transformers and Chokes | |
Switch Transformer ER Core Series - page 2 | |
![]() |
![]() |
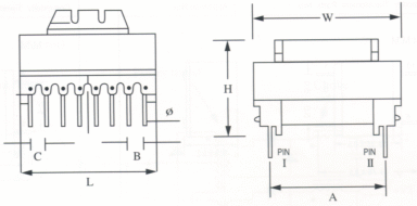
Type |
L |
H |
W |
A |
B |
C |
Ø |
Pin I |
Pin II |
ERH 28 |
30.0 |
25.0 |
37.0 |
30.0 |
5.0 |
5.0 |
0.8 |
6 |
6 |
ERH 39 |
42.0 |
34.0 |
46.0 |
35.0 |
5.0 |
5.0 |
1.0 |
8 |
8 |
ERH 4215 |
42.0 |
35.0 |
44.0 |
34.5 |
5.0 |
4.0 |
1.0 |
7 |
7 |
Minimum Order Quantity (MOQ) = Please enquire | |
![]() ![]() |